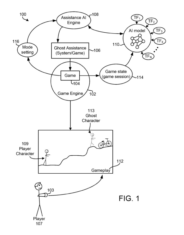
Seguindo a tendência do mercado de tecnologia de apostar cada vez mais na inteligência artificial (IA), a Sony registrou recentemente um novo assistente conhecido como ‘Ghost Player’. A novidade tem como principal objetivo ajudar jogadores a passarem de trechos difíceis de um game, tomando o controle de suas mãos.
A descrição registrada pela empresa japonesa mostra que o assistente pode tanto ser usado para pular de trechos específicos quanto para completar fases inteiras. Assim, ele pode ser usado tanto como um ajudante — pense naquele amigo ou irmão que pegava o controle para passar de algum desafio — quanto como uma forma de terminar jogos completos.

A solução proposta pela Sony parece uma evolução radical de alguns recursos que já estão disponíveis em alguns jogos. Muitos títulos modernos conseguem reconhecer as dificuldades pelas quais os jogadores estão passando e fornecem recursos como dicas ou a diminuição dinâmica dos níveis de dificuldade. Em alguns casos mais pontuais, também é possível escolher pular completamente alguns desafios.
Sistema da Sony vai ser treinado pelos jogadores
Segundo o registro feito pela corporação, as decisões que o Ghost Player vai ser capaz de tomar não vão se basear no trabalho feito por desenvolvedores. O novo assistente de IA vai ser capaz de completar jogos usando como base a análise dos comportamentos dos próprios jogadores.
Assim, é bastante provável que, caso o sistema seja adotado, ele nem sempre se mostre eficiente. Afinal, um game que acabou de ser lançado provavelmente não vai dispor de uma base de treinamento suficiente para garantir o bom funcionamento da ferramenta em todos os momentos.

De forma semelhante, a nova IA da Sony deve funcionar melhor em games populares do que naqueles que tiverem um público mais restrito. A companhia já oferece algumas soluções de ajuda no PlayStation 5 pelo sistema Game Help, que traz cartões com pequenas dicas e vídeos pontuais do que fazer diante de algumas barreiras.
Dado que o Ghost Player ainda está na fase de patente, até o momento não há qualquer previsão de quando ele pode ser implementado na prática — ou garantias de que isso vai acontecer. Quem mais está avançado no uso de IAs para dar dicas de games é a Microsoft, que estreou há alguns meses o Copilot voltado a títulos do Xbox e do PC.
Fonte: VGC


